网络安全与信息化建设办公室
学校首页
部门首页
部门简介
通知公告
政策法规
规章制度
网络安全
服务流程
常用下载
打印机驱动下载
扫描仪驱动
常用软件下载
文件下载
数据平台
VPN
正版化平台
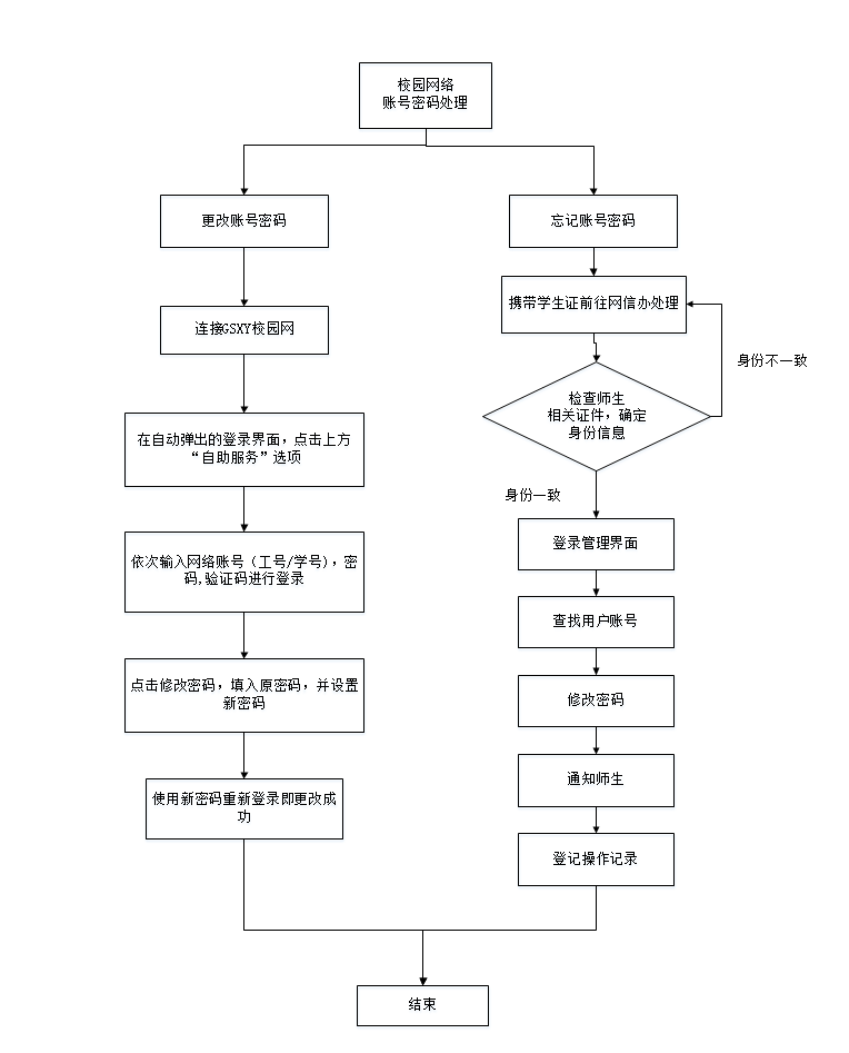
校园网账户密码更改工作流程
发布者:新闻中心
发布时间:2025-04-15
浏览次数:
144